广东省26年4月自考报名工作通知!

时间:2026-02-07 14:42:19 | 作者:
阅读量:5244

2026年4月广东自学考试

计划于4月11日至12日举行

报名报考及缴费工作于

2026年2月26日至3月7日进行

想要报名自考的同学注意时间安排

一、4月自考报名报考安排
1.新生报名:

预报名时间:

2026年2月26日10时至3月1日12时

正式报名时间:

2026年2月26日10时至3月1日17时

报名信息审核:

2026年3月2日17时前

2.课程报考:

报考时间:

2026年3月3日14时至3月6日17时

缴费时间:

2026年3月4日10时至3月7日17时

原文链接:https://portal.smu.edu.cn/smuce/info/1551/22981.htm

2026年4月广东自考报名工作即将启动

若对自考报名时间、流程、考试安排、专业院校、费用及复习等问题存疑

扫码即可向在线老师咨询!

二、自考开考科目计划

1.开考科目:

2.使用教材:

文章篇幅有限,有需要完整的,可添加老师,如“广东”,发送【广东】即可

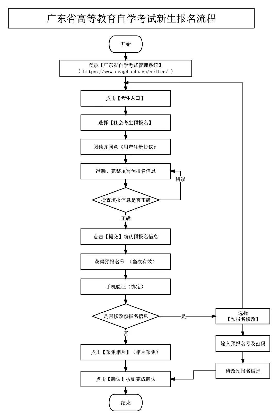
三、自考报名报考流程

1.广东省自学考试系统:

https://www.eeagd.edu.cn/selfec/

2.报名流程:

关注自考东培题库公众号,持续为大家关注自考动态,帮助大家走出自考迷茫